Concept

 

  Liftoplane is based on a concept and the evolution of its implementation.

 

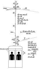
The "flying elevator" conceptThe “flying elevator” concept

 

 

Evolution. From “wired wings” to cyclorotorEvolution. From “wired wings” to cyclorotor

 

Copyright © 2018-2023 Yuri Feldman - All Rights Reserved